Tesla подала новую патентную заявку, которая прямо намекает на подготовку к интеграции спутниковых приемников Starlink непосредственно в свои электромобили.
Современные автомобили Tesla и так относятся к самым «подключенным» в мире. Они активно используют мобильные сети для сбора данных Autopilot, обновлений программного обеспечения «по воздуху», стриминговых сервисов и других онлайн-функций. Но даже 5G имеет ограничения — в частности за пределами городов и в регионах со слабым покрытием.
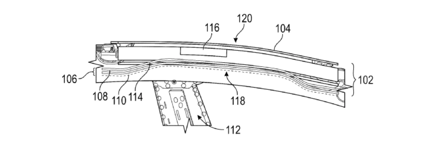
Новая патентная заявка описывает техническое решение этой проблемы. Документ называется Vehicle Roof Assembly with Radio Frequency Transparent Material и посвящен конструкции крыши, которая пропускает спутниковые сигналы.
В патенте указано, что традиционные автомобильные крыши из стекла или металла часто блокируют или ослабляют спутниковый сигнал. Из-за этого сложно скрыто разместить антенну внутри салона. Решение Tesla — использование специальных полимерных материалов, в частности поликарбоната или акрилонитрил-стирол-акрилата, которые являются «прозрачными для радиочастот».
В документе прямо сказано, что такая конструкция позволяет «интегрировать антенны непосредственно в структуру крыши, обеспечивая стабильную связь с внешними устройствами и спутниками». Патент также содержит схему многослойной конструкции крыши, которая скрывает антенну и одновременно сохраняет жесткость кузова.
Хотя в патенте не упоминают Starlink напрямую, намек более чем очевиден. Спутниковая сеть SpaceX обеспечивает высокоскоростную связь с низкой задержкой — именно то, что нужно автомобилям Tesla для обработки больших объемов данных.
Ранее владельцы Tesla уже устанавливали Starlink Mini на свои авто самостоятельно, преимущественно для путешествий и кемпинга без доступа к сети. Однако новый патент указывает на заводское решение, где антенна будет полностью скрытой и невидимой.
В таком случае автомобили Tesla смогут автоматически переключаться между мобильными сетями 5G и спутниковым интернетом Starlink в зависимости от доступного покрытия. Это обеспечит постоянное соединение с сетью даже в отдаленных районах.
Источник: electrek




Сообщить об опечатке
Текст, который будет отправлен нашим редакторам: